kyoty opened a new pull request #5912: URL: https://github.com/apache/dolphinscheduler/pull/5912
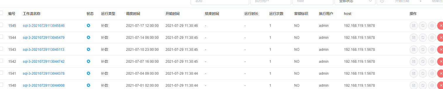
## Purpose of the pull request Implements the new feature discussed in #4385 Close #4385 ## Brief change log 1.`Serial execution` keep the same.  2.`Parallel execution` :**Add a checkbox: Configure parallelism. If checked, the parameter of parallelism is required.** Otherwise, the parallelism of the complement task will be 1: 1 with the number of tasks .  + If enable Configure parallelism. the parameter of parallelism must be a certain positive number. a empty stror a str contains non-numberic character or a non-positive number would casue a alert like below:  + If the parallism is a positive number like below, it would run like below: we assume the parallism is 7 we cam see that 7 process definitions has been created and is running. Take the process: sql-3-20210729113046224 as an example, we can see that it contains a set of tasks and all of them work as expected.   ## Verify this pull request This pull request is already covered by existing tests and also manually verified the change by testing locally -- This is an automated message from the Apache Git Service. To respond to the message, please log on to GitHub and use the URL above to go to the specific comment. To unsubscribe, e-mail: [email protected] For queries about this service, please contact Infrastructure at: [email protected]
